Uwaga – strona w przebudowie! Przepraszamy za wszelkie niedoskonałości.

Separatory koalescencyjne substancji ropopochodnych
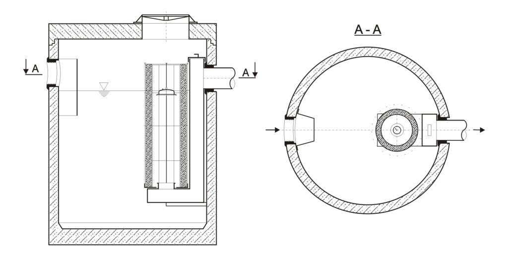
Separator koalescencyjny ECO I
  • W przypadku rzeczywistego zagłębienia kanalizacji większego od wartości “A” należy nadbudować separator nadstawkami regulacyjnymi
  • Wszystkie urządzenia w wykonaniu najazdowym z włazami Ø600 w klasach obciążenia C250 lub D400.

Separator koalescencyjny ECO I

Rodzaj separatora:
Separatory koalescencyjne substancji ropopochodnych
Rodzaj zbiornika:
Zbiorniki o podstawie okrągłej i owalnej

Parametry techiczne

ECO I NG
1,5
3
6
10
15
20
30
40
50
65
Przepustowość [l/s]
1,5
3
6
10
15
20
30
40
50
65
ECO I NG
80
100
125
150
175
200
250
300
350
Przepustowość [l/s]
80
100
125
150
175
200
250
300
350

ECO I NG
175 Ow
200 Ow
250 Ow
300 Ow
350 Ow
Przepustowość [l/s]
175
200
250
300
350

 

Przykładowy sposób oznaczania separatorów ECO I

ECO I – typoszereg
NG – wielkość nominalna
175 – przepływ nominalny [l/s]
Ow – zbiornik owalny

Zobacz również inne urządzenia