Uwaga – strona w przebudowie! Przepraszamy za wszelkie niedoskonałości.

OZM-K | 0,7 | 1 | 1,5 | 2 | 3,5 | 4,5 | 6 | 7 | 8 | 9 | 12 |
|---|---|---|---|---|---|---|---|---|---|---|---|
Przepustowość nominalna [l/s] | 3 | 6 | 10 | 15 | 20 | 30 | 40 | 50 | 65 | 80 | 100 |
Przepustowość maksymalna [l/s] | 30 | 60 | 100 | 150 | 200 | 300 | 400 | 500 | 650 | 800 | 1000 |
Pojemność całkowita [l/s] | 700 | 1100 | 1500 | 2100 | 3400 | 4300 | 6000 | 7200 | 7600 | 9100 | 11800 |
OZM-K | 16 Ow | 25 Ow |
|---|---|---|
Przepustowość nominalna [l/s] | 125 | 160 |
Przepustowość maksymalna [l/s] | 1250 | 1600 |
Pojemność całkowita [l/s] | 15500 | 25000 |
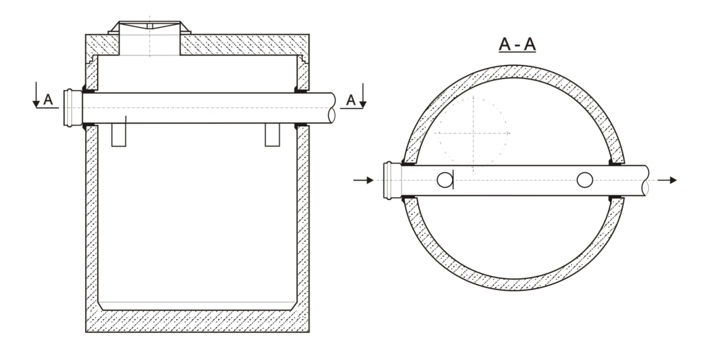
OZM-K – typoszereg
16 –pojemność nominalna [m3]
Ow – zbiornik owalny
Specjalizujemy się w produkcji i dostarczaniu kompleksowych rozwiązań w zakresie oczyszczania i transportu ścieków, obsługując szeroki wachlarz branż, od transportowej i paliwowej, przez spożywczą, aż po motoryzacyjną.
ECOLOGIC – lider w branży ochrony środowiska